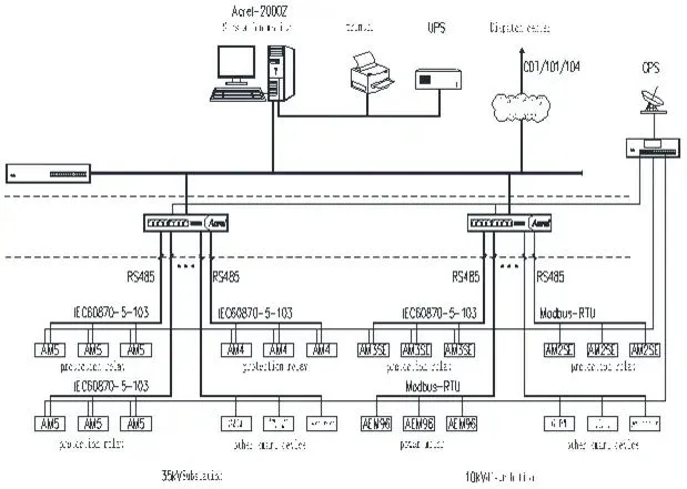
Product Description1.A complete set of protection, related to the application;2. 4 current input, 3 voltage input, 8DI, 5DO;3.Auxiliary power supply adapts with AC220V, DC220V, DC110V, AC110V;DC48V,DC24V;4.1 RS485 serial communication, IEC60870-5-103 and Modbus-RTU;5.More than 200 sequence of event ......






Company profile




More technical questions, please contact me!
Waiting for your information!
Gw718A-80A Magnetic Latching Relay 1A /1b for Smart Meter
Gw Brand Electric Load Capacity 1A /1b Relay Latching Relay for Smart Meter
Automobile Relay Low Capacity Relays for Communication Equipments, wireless Controller, Telecom, 0.5A 1A Rele Wl23f
Omron Relay G5nb- 1A -E 12VDC 4pin 5A Brand New and Original Relay
Low Power Electromagnetic Meishuo 38.0X33.0X36.8mm Zhejiang, China Contact Relay Me105- 1A -1
Wl4078 Small Relay Dpdt Relay 8feet 8 Pins 1A 2A 28VDC